合作伙伴

安装环境
采用预制式带电可触摸硅橡胶电缆头,全密封、全绝缘、免维护,可靠保证人身安全;
结构紧凑,外形小巧美观,不锈钢双层箱体,使用寿命可达二十年以上;
在不影响主网运行的前提下,实现区域停电检修,减小停电范围;
可配一台或多台SF6负荷开关,接线方式灵活多样,分支出线最多可达8回路;
可选避雷器、短路故障指示器、限流熔断器等,满足用户各种要求。
型号含义

技术参数

典型接线方案

注:用户可选配避雷器、短路故障指示器、熔断器等。
外形示意图

常用方案示例
1、DFWK-102K

2、DFWK-103K

3、DFWK-200K3

3、DFWK-206K3

概述
采用进口优质绝缘橡胶全自动注射而成,内外层均为半层体屏蔽层,内层用来均衡内部电场,外屏蔽层接地保护电缆头表面零电位。应力锥下端内层与电缆的半导体层紧密接触,而外半导体层又与电缆头外半导体层紧密接触,并通过电缆头的接地孔接地,这样不仅解决了电缆外屏蔽层切断处的电场集中问题,而且使电缆外屏蔽层保持零电位,保证人身安全。
可触摸电缆前接头直接安装在设备套管上,其后可与可触摸电缆后接头连接,组成多路出线,也可与避雷器连接,为电网提供过电压保护。
电缆连接剖面图
电缆头安装前,应详细阅读安装说明书(附件盒内);
剥切电缆时,应按附件盒内的电缆制作标示卡进行;
压接线端子之前,应先套上应力锥;
安装中间接头一定要到位,以保将接线端子固定牢固,否则会因接触不良造成严重后果;
只有绝缘塞的端部安装垫片和螺母,其它部位禁装垫片和螺母。

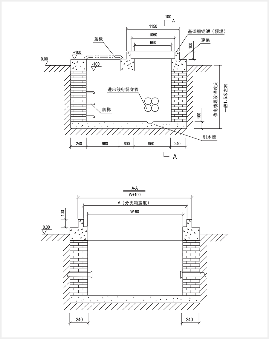
基础结构图


技术要求
砖墙内侧采用1:3水泥砂浆抹封,并做防水处理;
穿梁采用Φ6砼操作; 基础槽钢制作后须做防腐处理;
分支箱安装完毕后底座四周用水泥抹封;
入孔入口处须采取防水措施;
基础内应预埋好接地极,接地电阻符合电力部门要求。
订货须知
产品型号、用户有特殊要求的可提供一次图;
进出线及分支电缆的标准截面;
选配的避雷器、短路故障指示器的数量;
外壳的材料和颜色。